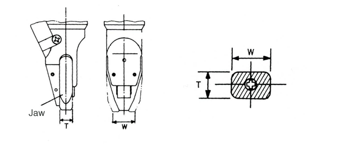
For the standard Y pipe are shown below.(W indicates dimentions when the jaw is fully opened during screw tightening. T indicates dimentiones when the jaw is wide.) Check the following items and space of screw fastener.

| Screw type | T | W | 
|---|---|---|
| 25A | 9 | 11 | 
| 25B2 25C | 9 | 13 | 
| 25B1 | 9 | 15 | 
| 30A | 9 | 12 | 
| 30B1 | 9 | 16 | 
| 30B2 | 9 | 13 | 
| 30C | 11 | 16 | 
| 35A | 9 | 13 | 
| 35B1 | 11 | 19 | 
| 35B2 | 11 | 16 | 
| 35C | 11 | 17 | 
| 40A | 11 | 15 | 
| 40B1 | 11 | 19 | 
| 40B2 | 11 | 17 | 
| 40C | 12 | 18 | 
| Screw type | T | W | 
|---|---|---|
| 50A | 12 | 17 | 
| 50B1 | 13 | 27 | 
| 50B2 | 13 | 22 | 
| 50C | 15 | 25 | 
| 60A | 13 | 20 | 
| 60B1 | 15 | 31 | 
| 60B2 | 15 | 25 | 
| 27A  | 9 | 15 | 
| 27B1  | 9 | 15 | 
| 31A  | 9 | 16 | 
| 31B1  | 9 | 16 | 
| 35A  | 11 | 16 | 
| 35B1  | 11 | 17 | 
| Screw type | Spring-washer diameter | T | W | 
|---|---|---|---|
| 30A Sems | φ5.5 | 9 | 12 | 
| 40A Sems | φ7.0 | 11 | 15 | 
| 50A Sems | φ9.0 | 12 | 17 | 














